一站式知識產權保護平臺
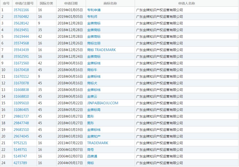
這都已經夠震驚的了,更狠的是,申請人這家公司,在前不久還有一件商標同樣也下了初審通告,商標名稱是“商標注冊” 是的,你沒有看錯,小編我也沒有打錯字,就是這個名稱“商標注冊”!
看到這,我簡直不敢相信,嚇得我趕緊去看來一下商標法相關條例:
那到底這些屬不屬于通用名稱呢?還需要去考量??吹竭@我就趕緊去了解了一下這家公司,一搜不知道,搜了嚇一跳!真的是過分的狠吖,竟然連”商標“都申請注冊下來.....
而“專利申請”的商標,也顯示的是等待實質審查中!
是不是看到這已經驚掉了下巴,世界真奇妙,但真的不如商標奇妙... 所以,一定要記住,有想法,就要勇于嘗試,只要膽子大,一切全握下。 好了,不說了,馬上就要過節了,小編在此祝大家中秋節快樂,公司發的禮品,我要趕緊去領啦! 

電話預約在線咨詢

電話預約在線咨詢

電話預約在線咨詢

電話預約在線咨詢

